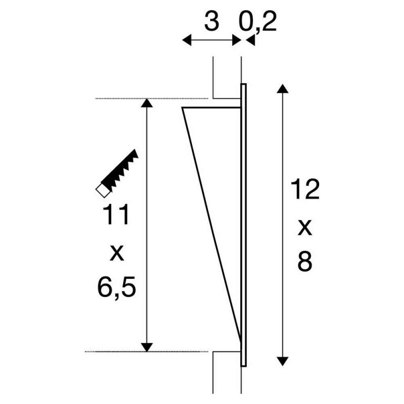
Встройка в стену SLV 151951
Код товара: 394117
Характеристики
Гарантия
—
1 год
0р.
DOWNUNDER PUR 120 светильник встраиваемый 350мА 3.6Вт с LED 3000К, 160лм, белый
