Встройка в стену SLV 113292
Код товара: 963849
Характеристики
Гарантия
—
1 год
10 728р.
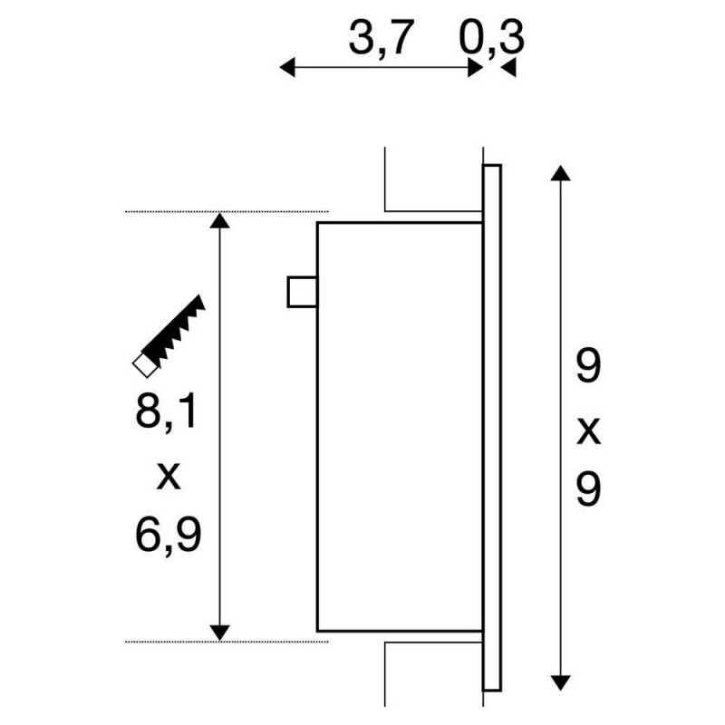
FRAME CURVE LED светильник встраиваемый 350мА 1Вт с LED 3000К, 60лм, белый/ алюминий
